Apple Dikabarkan Bakal Rilis Kacamata Pintar Lebih Canggih dari Google Glass
Apple Dikabarkan Bakal Rilis Kacamata Pintar Lebih Canggih dari Google Glass - Jangan cuma fokus berkembangan iPhone aja, bro.
Apple Dikabarkan Bakal Rilis Kacamata Pintar Lebih Canggih dari Google Glass - Apple juga punya gadget lain yang menarik untuk ditunggu. Nah, yang satu ini adalah gadget Augmented Reality (AR).
Dikabarkan, pada acara WWDC beberapa waktu lalu, Apple merilis rencana pengembangan software yang diberi nama ARKit untuk developer yang mau menanam fungsi AR ke aplikasi.
Tapi, Apple juga punya hardware baru yang sedang dikembangkan. Gadget ini berupa kacamata pintar. Desain produknya terkuak lewat sebuah dokumen paten yang baru-baru ini terpublikasikan.
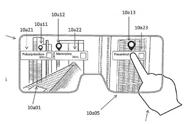
Mirip kayak Google Glass, kacamata Apple ini juga bisa menampilkan berbagai macam tampilan data di atas lensa semintransparannya. Nah, bedanya dengan Google Galss, kacamata ini punya fitur “touchscreen”. Jadi, ketika sedang memakai kacamata ini, segala benda yang kita tunjuk dengan tangan akan disediakan informasinya oleh kacamata. Ketika sedang menunjuk sebuah mobil, misalnya, kacamata akan nampilin data tentang nama mobil, sejarah, spesifikasi, dll.
Dokumen tersebut juga menyebutkan bahwa kacamata ini nggak butuh koneksi ke smartphone sebagaimana wearable gear lain.
Tapi, belum bisa dipastikan apakah paten ini akan terrealisasi atau belum. Kita tunggu kabar berikutnya.
Baca Juga :5 fitur unggulan OPPO
------------------------------------------------------------------------------------------------------
BANDAR TOGEL, SITUS TOGEL ONLINE TERPERCAYA, JUDI TOGEL ONLINE, BANDAR TOTO, BANDAR CASINO ONLINE, BANDAR BOLA ONLINE
Join dan main bersama dengan Goo4D sekarang juga!!!
Kenapa harus Goo4D?? Ini nih 10 kelebihannya bro & sist, check it out :
1. Minimum Deposit Rp 25.000!!!
2. Min Withdraw Rp 50.000!!!
3. Banyak bonusnya..!!!
4. Customer service yang cantik dan ramah dalam melayani selama 24 jam!!!
5. Proses Depo & Withdraw yang cepat, dibawah 3 menit!!!
6. Proteksi akun member yang sangat baik, sehingga mencegah member kecolongan hingga mengalami kerugian!!!
7. 1 ID untuk akses ke banyak Games yaitu : Poker, DominoQQ, Casino, Sabung Ayam, Sportsbook & Togel!!!
8. Multi Platform, dapat dimainkan di Komputer maupun smartphone anda!!!
9. Game yang ringan, tidak memberatkan handphone maupun komputer yang digunakan untuk bermain!!!
Jadi tunggu apalagi nih bossku?? Udah gak jaman main malah kalah mulu.. Daftar sekarang, dan buktikan sendiri kalo cuma disini main judi yang paling gampang menangnya..!!!
Pendaftaran mudah dengan mengklik link berikut ini :
https://goo.gl/QGq6k2
Bagi para calon member yang ingin mengetahui lebih banyak tentang kami, bisa langsung menghubungi kontak kami dibawah ini :
- Livechat
- BBM : 7AE29F1D
- Whatsapp : +855 9779 53822
- Yahoo : goo4dcs@yahoo.com
- Skype : csgoo4d
Kenapa harus Goo4D?? Ini nih 10 kelebihannya bro & sist, check it out :
1. Minimum Deposit Rp 25.000!!!
2. Min Withdraw Rp 50.000!!!
3. Banyak bonusnya..!!!
4. Customer service yang cantik dan ramah dalam melayani selama 24 jam!!!
5. Proses Depo & Withdraw yang cepat, dibawah 3 menit!!!
6. Proteksi akun member yang sangat baik, sehingga mencegah member kecolongan hingga mengalami kerugian!!!
7. 1 ID untuk akses ke banyak Games yaitu : Poker, DominoQQ, Casino, Sabung Ayam, Sportsbook & Togel!!!
8. Multi Platform, dapat dimainkan di Komputer maupun smartphone anda!!!
9. Game yang ringan, tidak memberatkan handphone maupun komputer yang digunakan untuk bermain!!!
Jadi tunggu apalagi nih bossku?? Udah gak jaman main malah kalah mulu.. Daftar sekarang, dan buktikan sendiri kalo cuma disini main judi yang paling gampang menangnya..!!!
Pendaftaran mudah dengan mengklik link berikut ini :
https://goo.gl/QGq6k2
Bagi para calon member yang ingin mengetahui lebih banyak tentang kami, bisa langsung menghubungi kontak kami dibawah ini :
- Livechat
- BBM : 7AE29F1D
- Whatsapp : +855 9779 53822
- Yahoo : goo4dcs@yahoo.com
- Skype : csgoo4d

Apple Dikabarkan Bakal Rilis Kacamata Pintar Lebih Canggih dari Google Glass
Reviewed by Unknown
on
August 03, 2017
Rating:
No comments: